New Firestop Systems – September 2018
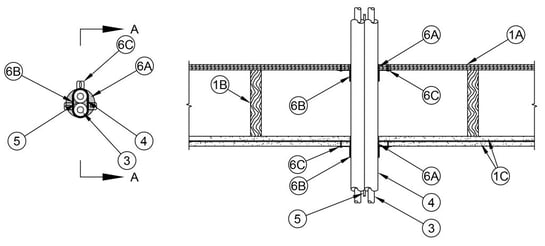
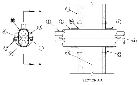
C-AJ-8288, F-C-8052, W-L-8117 – Preinsulated copper tubing featuring polyethylene insulation, which is becoming a popular option for AC line set installations, installed within concrete floors/walls, wood floor-ceiling assemblies and gypsum walls can now be firestopped using SpecSeal® RED, RED2, BLU or BLU2 Wrap Strip.


