New Firestop Systems – October 2018
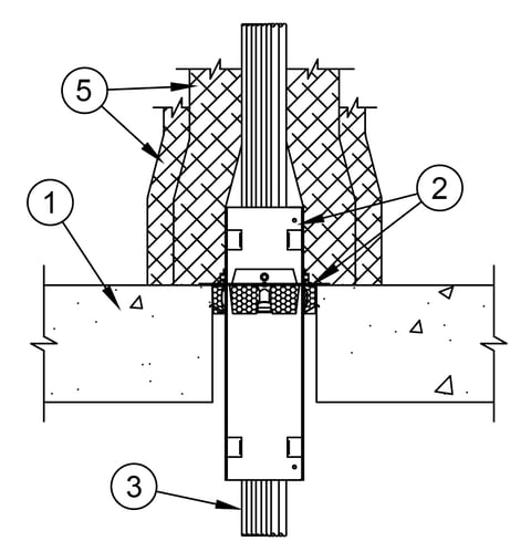
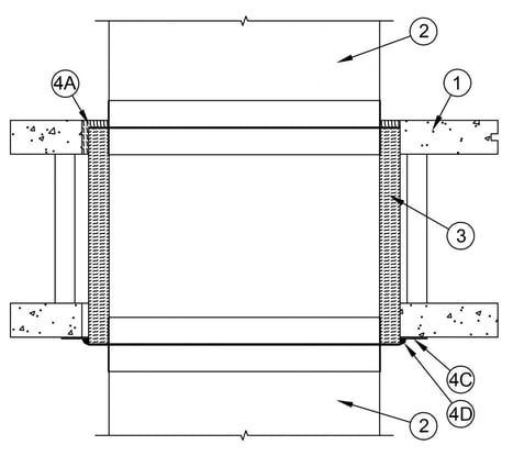
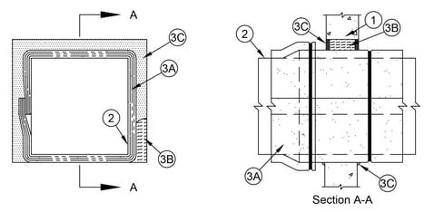
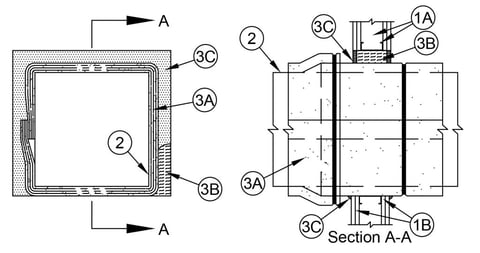
C-AJ-3354, F-A-1180, F-A-1181, F-A-3068, F-A-3069, W-J-7170 and W-L-7280 – Achieve equal F and T Ratings for a wide range of applications using these seven new systems. STI products used in conjunction with Unifrax manufactured FyreWrap Elite 1.5 Insulation Wrap provide both firestopping and protection against temperature rise.







