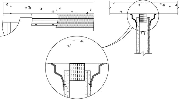
New Head-of-Wall Joint System HW-D-0846
System Number HW-D-0846 is a NEW head-of-wall joint system for 1 or 2 hr fire-rated gypsum walls abutting concrete floor assemblies.
Features & Benefits
• Newly sized 8 in. (203 mm) high version of SpeedFlex® Joint Profile (Cat. No. SFJP80) and SpecSeal® AS200 Elastomeric Spray act as joint system
• Allows 100 % compression or extension of a 1-3/4 in. (44 mm) joint
• System accommodates a total displacement of 3-1/2 in. (89 mm)
• Industry leading movement capabilities for a “wet seal” system
• Competing systems with 100% compression or extension allowances are forced to rely on complicated track systems and installation of cumbersome wall cladding strips
• Perfect solution for projects specifying a large degree of movement
