STI
Search
menu

New Firestop Systems – July 2019

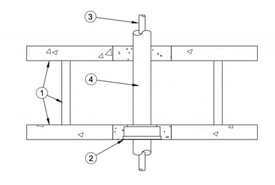
F-B-5011 – A new firestopping solution for insulated PEX Tubing penetrations within FinFrock Dual Deck floors. A SpecSeal® Cast-In Firestop Device is installed at the bottom slab and SpecSeal® Series SSS, LCI, SIL300 Sealant or grout is installed at the upper slab for max 1 inch diameter PEX tubing with up to 1-1/2 inch thick fiberglass insulation.

 

F-B-5011