New Firestop Systems – January 2019
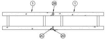
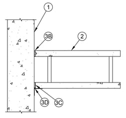
FF-S-0038 and FW-S-0019 – Both systems for joints between FinFrock Dual Deck assemblies have been revised to allow the optional use of SpecSeal® SIL300 Sealant at the upper joints in lieu of grout at these locations. SpeedFlex® Track Top Gasket remains the firestop at the lower joints.

