New Firestop Systems – August 2018
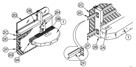
CW-D-1044, CW-D-1046 and CW-D-1047 – STI created an innovative system in CW-D-1044 for back pan curtain wall applications where the underside of the vision glass sill is flush with the top surface of the floor and no stiffener channel is used. CW-D-1046 and CW-D-1047 are new curtain wall designs that utilize 2 inch thick, 8-pcf curtain wall insulation in conjunction with steel hat channels. These two systems compliment CW-D-1010 and CW-D-1036, which are of a similar design but require 4 inch thick, 4-pcf insulation.


